VEHICLE GAP GUARD
VEHICLE GAP GUARD
Follow us on Telegram to get the newest updates about lawsuit cases:

You’re sued and your balance is frozen? Don’t worry, we can help to settle and release your balance. Learn more
Brand side: Jonathan Kotyk
Prosecution Type: Patent
Law Firm: Dewitty And Associates, Chtd. – Chicago – Illinois – USA
| Prosecution time | Case number | Law firm | Brand | Brand side |
| 21/11/2025 | 25-cv-14271 | Dewitty And Associates, Chtd. | VEHICLE GAP GUARD | Jonathan Kotyk |
| 10/10/2025 | 25-cv-12456 | Dewitty And Associates, Chtd. | VEHICLE GAP GUARD | Jonathan Kotyk |
Brand Introduction:
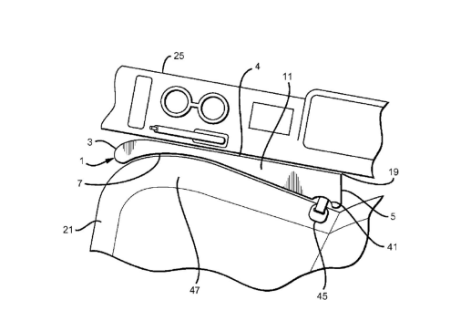
Plaintiff Jonathan Kotyk is a resident of Atlantic Beach, FL (U.S.), and a citizen of the United States. Plaintiff is the assignee of U.S. Utility invention Patent No. 7,527,314 (“**314 Patent”) entitled “VEHICLE GAP GUARD” (attached as Exhibit A), filed on November 6, 2006, and issued on May 5, 2009. A

Registered but not limited:

Follow us on Telegram to get the newest updates about lawsuit cases:

You’re sued and your balance is frozen? Don’t worry, we can help to settle and release your balance. Learn more
